France introduced a law banning PFAS in clothing textiles starting in 2026. These chemicals have long been used in outdoor clothing, footwear, and performance fabrics because they provide strong resistance to water and stains.
Removing them forces development teams to reformulate water-repellent finishes and test new chemistries. Replacements must deliver the same performance while remaining compatible with existing finishing lines and production costs.
At the same time, textile developers are facing other material challenges.
Mixed textile waste is becoming harder to recycle because garments often contain blended fibers, dyes, and finishing chemicals. New products are also integrating electronic features, such as sensors and heating elements, that must operate without compromising comfort or fabric durability.
These pressures are pushing companies and research institutes to explore new textile materials, structures, and processing methods.

1. Using Heat and Pressure to Recycle Mixed Textile Waste
Mixed textile waste streams are difficult to recycle because they often contain multiple fiber types, dyes, and finishing chemicals. Conventional recycling methods usually require extensive sorting and drying, which increases processing cost and energy consumption.
Ecco Sko A/S is exploring hydrothermal liquefaction, a process that breaks down wet textile waste under heat and pressure.
In this method, textile waste with moisture levels 10–30 percent higher than its normal moisture content is mixed with water and then heated under pressure to break down the materials. Under these conditions, water reacts with the textile fibers, allowing materials such as cotton and polyethylene terephthalate (PET) to break down into oils, gases, and solid residues.
The process can handle mixed fibers and common impurities, such as dyes and finishing chemicals, found in post-consumer textiles, thereby reducing the need for sorting and drying steps. The resulting products can then be used as fuels, chemical inputs, or raw materials for new textiles.
Beyond recycling technologies, several innovations are also changing how electronics and functionality are integrated into textiles.
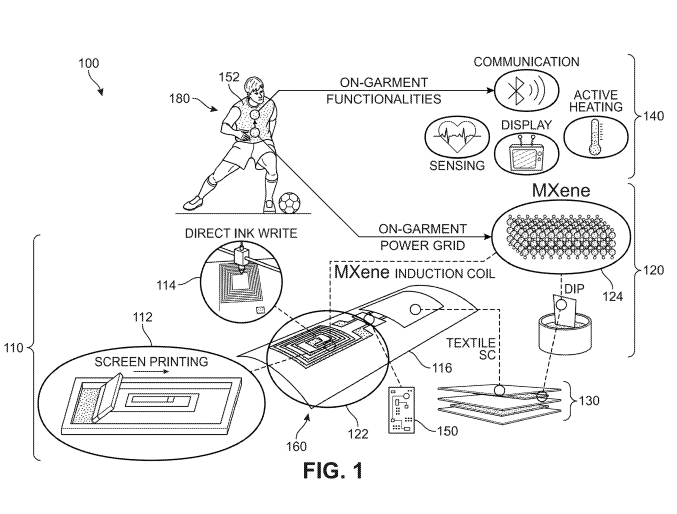
2. Printing Wireless Charging Directly onto Fabric
Smart garments are increasingly being designed with features such as fitness-tracking shirts, posture-monitoring clothing, heated jackets, and health-monitoring wearables. These garments include built-in sensors or heating functions that require a reliable energy supply while still keeping the fabric flexible and washable. In many current products, this energy comes from removable battery packs or wired connectors, which can add weight and make garments harder to clean.
To address this limitation, Accenture has explored a way to build charging capability directly into the fabric. The idea is to print thin conductive patterns directly onto textiles using MXene-based inks. These patterns can be applied using common textile printing techniques such as inkjet or screen printing.
When the garment is placed near a charging surface, the printed loops allow it to receive energy wirelessly. This means sensors in smart clothes could recharge without rigid cables or external battery packs. MXene materials are useful for this purpose because they conduct electricity well while remaining thin and flexible.

The amount of energy the garment can receive depends on how the printed loops are designed. Adjusting the loop shape, spacing between the printed lines, or the number of printed layers allows developers to match the design to different garment functions. For example, activity-tracking garments typically require less energy than heated outerwear.

For textile development teams, integrating charging loops directly into fabric could make it easier to include electronic features in clothing while maintaining comfort, flexibility, and washability. Because the loops can be printed using existing textile printing techniques, the approach may also fit more easily into current textile manufacturing processes.
Textile Related Articles
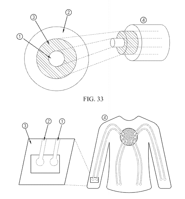
3. A Fabric Layer That Powers and Connects Smart Garment Features
Smart garments can include features placed in different parts of the clothing, such as fitness sensors in sleeves, health monitors in shirts, or small displays on jackets. When each feature requires its own battery, garments become heavier and harder to manage.
A design developed by Korea Electronics Technology Institute addresses these limitations with a fabric that carries both energy and signals throughout the garment. Special layers of conductive fabric are built into the clothing so electricity and information can move from one part of the garment to another.

In this setup, a single power unit supplies power to sensors, monitoring devices, or small displays placed across the clothing. The conductive fabric distributes this energy so the different features can operate without separate batteries.

The fabric also allows these devices to share information. This enables sensors, displays, and other built-in functions located on different parts of the garment to work together.
By allowing multiple features to share a single power source, the design reduces the number of batteries required in a garment. This helps smart clothing remain lighter, more flexible, and easier to maintain while still supporting multiple wearable functions.
Textile Related Articles
4. Knot-Structured Fabrics That Move Without Rigid Mechanisms
Wearable robots, assistive garments, and adaptive clothing need materials that can move or apply force while remaining soft and flexible. Traditional movement systems or actuators often rely on rigid mechanical parts, which reduces comfort and limits their integration into clothing.
Researchers at Korea Advanced Institute of Science and Technology (KAIST) have developed a fabric design that creates movement directly within the textile structure. The concept uses a knot-based arrangement of fibers, in which strands cross and loop around one another to form repeating knot patterns.
These knots create small structural units that can expand or contract in response to heat, electrical input, or other triggers.
Using shape-memory polymers or other responsive materials enables the knot patterns to amplify each fiber’s movement. As the knots expand or contract, the surrounding structure guides the motion in a controlled direction. This allows the fabric to bend, tighten, or apply force without relying on rigid components.

Placed at key areas of a garment, such as joints in wearable assistive devices or soft exoskeletons, these fabric actuators can support human movement during rehabilitation or strength training. The same design can also be used in soft-gripping textiles that adapt to object shapes, or in garments that apply adjustable compression to specific body areas.
Since the movement comes from the fabric’s structure itself, the system retains the advantages of textiles’ flexibility, light weight, and quiet operation while still generating controlled motion.
Material finishing processes are also evolving to meet new environmental requirements.

Toxic Textile Chemicals Ban Report
Read The Report5. Water-Repellent Fabric Coating That Works Without Fluorine Chemicals
Water-repellent finishes are commonly used in products such as rain jackets, outdoor gear, and footwear. Many existing treatments rely on fluorine-based chemicals that persist in the environment for long periods and are now subject to tighter regulations. As these materials are phased out, textile manufacturers are seeking safer ways to keep fabrics water-resistant.
Green Theme Technologies Inc. has developed a coating that helps fabrics repel water without using fluorinated chemicals. The coating is applied to the fabric as a liquid and then allowed to dry and set under normal conditions.
Because the process works at room temperature or with mild heating, it can be applied without specialized equipment or high-temperature treatment. Additives in the coating can also help it dry and set more quickly during production.
Once applied, the coating attaches closely to the fabric fibers rather than simply sitting on the surface. This helps the water-repellent effect last longer, even after repeated use and washing.
The treated fabric prevents water from soaking in while keeping the material flexible, breathable, and comfortable to wear.
This finish is particularly useful for footwear and performance clothing, where moisture from rain, snow, or sweat can cause discomfort, odor, or damage to the material over time. By offering durable water resistance without fluorinated chemicals, the coating gives textile manufacturers a practical way to meet environmental regulations while maintaining product performance.
Textile Related Articles
What’s Next
Textile products are expected to deliver more than traditional fabric performance. Garments now combine moisture protection, durability, recyclability, and in some cases electronic functionality. Meeting these expectations requires new materials and processing approaches that can operate within existing textile manufacturing systems.
The next phase of textile innovation will depend on identifying solutions that perform reliably outside the lab. New materials must pass durability testing, maintain product performance, and integrate into current production processes without slowing manufacturing operations.
If your team is evaluating new textile materials, fabric structures, or processing technologies, GreyB can help identify emerging developments and map the innovation landscape shaping future textile products.
Here are a few challenges we regularly help teams work through:
- How to replace fluorinated finishes with alternatives that still deliver durable water repellency?
- How to recycle mixed-fiber or post-consumer textile waste that’s too blended for conventional recycling routes?
- What coating chemistries can meet tightening environmental regulations without disrupting existing finishing lines?
- What fabric structures or material systems can support movement and actuation without adding rigid components to garments?
- What power delivery solutions can keep smart garments lightweight and washable while supporting multiple electronic features?
If your team is dealing with any of these — or a different challenge entirely — we can help map the innovation landscape and identify what’s technically feasible today and works best for you.

